Description Ancrage articulé pour échelle
Ancrage articulé pour échelle Ø43mm
Ancrage articulé pour échelle Ø43mm
Ancrage en acier Inox AISI-304 poli avec écrou auto-bloquant.
L'articulation de cet ancrage permet de lever l'échelle, dans le cas de présence d'un volet roulant par exemple, afin de ne pas gêner son fonctionnement.
NB : Ancrage non compatible avec les sorties de bain
NB : Les produits en acier inoxydable ne sont absolument pas compatibles avec une eau traitée par électrolyse au sel !
Toute utilisation des produits sous garantie dans une eau traitée par électrolyse entraînerait l'annulation de cette garantie
Dimensions
Installation
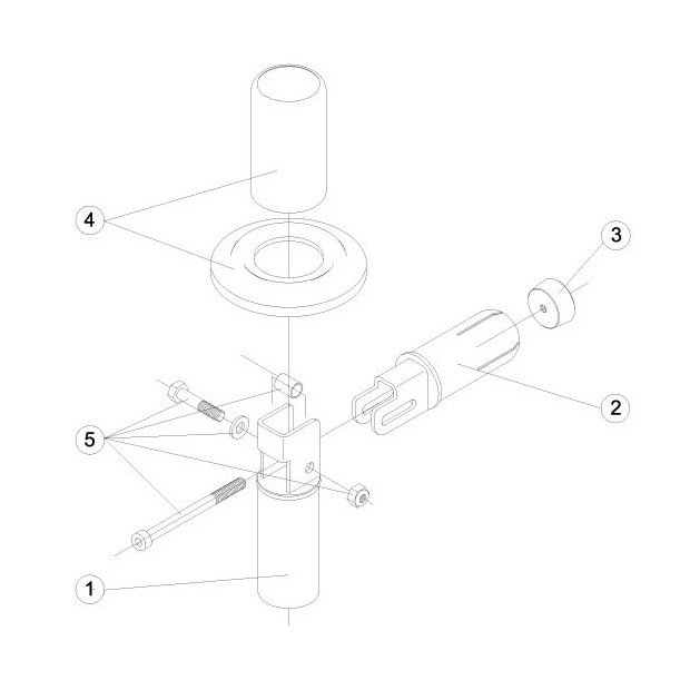
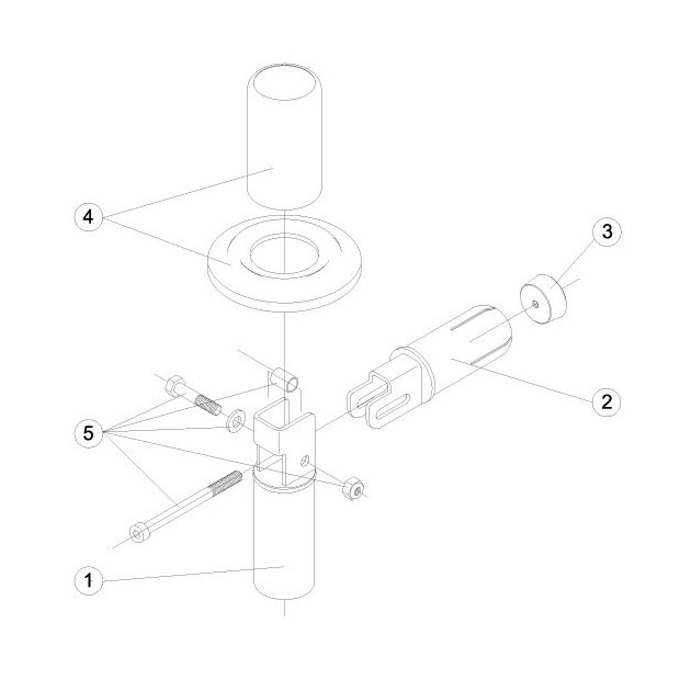
L'ancrage articulé sur platine est composé des éléments suivants :
1- Partie inférieure d'ancrage
2- Partie supérieure d'ancrage
3- Cône de fixation
4- Enjoliveurs
5- Visserie de la charnière
a - L'ancrage articulé à sceller doit être inséré dans son emplacement puis fixé.
b - Introduire les enjoliveurs sur le montant de l'échelle et enfoncer l'articulation au maximum dans le montant de l'échelle.
c - Placer l'échelle en position couchée, puis fixer l'ancrage articulé au moyen des vis fournies, et bien vérifier la solidité de fixation
d - Serrer la vis d'articulation et son écrou pour moduler la rigidité de l'ancrage.
Produit associé
L'ancrage articulé inox Ø43 mm s'utilise avec l'ancrage de fixation en polypropylène également disponible dans cette catégorie.
Les deux articles sont vendus séparément
Avis Ancrage articulé pour échelle





