Description Réchauffeur piscine RE/U Zodiac
Réchauffeur Zodiac Re/U
Réchauffeur électrique à circulation en coffret "spécial piscine", pour piscines privées ou publiques, extérieures et intérieures, jusqu'à 160 m³.
Re/U est proposé en 5 modèles de 12 à 24 kW :
- Réchauffeur piscine Re/U titane 12 kW mono
- Réchauffeur piscine Re/U titane 15 kW tri
- Réchauffeur piscine Re/U titane 18 kW tri
- Réchauffeur piscine Re/U titane 21 kW tri
- Réchauffeur piscine Re/U titane 24 kW tri
Garanti 2 ans
Réchauffeur Re/U - Description
- Re/U est un réchauffeur pré-câblé, avec thermostat de régulation à affichage digital, en coffret mural thermo-formé.
- Sens de circulation : prévu de gauche à droite, avec possibilité de l'inverser en inversant les sondes du thermostat digital de régulation et de sécurité (régulation à l'entrée, sécurité à la sortie du réchauffeur) et en tournant les coudes et l?interrupteur de débit (1/2 tour)
- Brides EPDM pour étanchéité et raccordement électriques surmoulés Hypalon.
- Réchauffeur modulaire composé de 2 résistances : il permet de mieux contrôler sa consommation électrique, en n'utilisant qu'une résistance sur deux, selon la saison et la température extérieure.
- Raccordement en Ø50 ou Ø60 PVC
- Corps du réchauffeur en polyamide injecté fibre de verre, résistances en titane anti-corrosion.
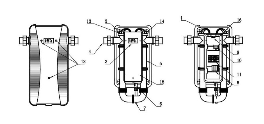
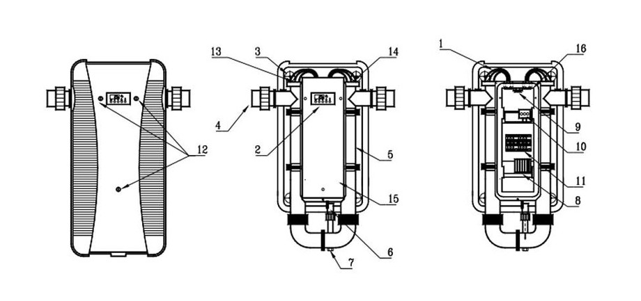
1- Câbles d'alimentation de la résistance électrique titane
2- Régulateur à affichage digital
3- Support de fixation du réchauffeur (en 4 points)
4- Raccord 1/2 union à visser Ø50 intérieur/Ø63 extérieur
5- Corps injecté
6- Contrôleur de débit
7- Bouchon de vidange du réchauffeur
8- Bornier de raccordement électrique
9- Thermostat de sécurité positive
10- Bornier de point étoile
11- Contacteurs de puissance
12- Vis de fixation du capot
13- Sonde thermostat digital (position usine pour le cas de passage d'eau de gauche à droite)
14- Sonde thermostat de sécurité (position usine pour le cas de passage d'eau de gauche à droite)
15- Coffret électrique
16- Presse-étoupes
Installation :
Montage en ligne dans le local technique, après la filtration et avant les apapreils de traitement d'eau.
Les produits PSA Zodiac impliquent de par leur technicité une installation par une professionnel. Cela vous permettra d'obtenir la garantie d'une installation conforme, et vous bénéficierez ainsi de la garantie fabricant de 2 ans.
La garantie ne sera pas accordée dans le cas d'une installation par un non-professionnel.
Réchauffeur Re/U - Caractéristiques techniques




