Description Skimmer Cofies Hayward pour piscine béton et liner
Hayward - Skimmer béton/liner
Fonction du skimmer :
Élément principal du circuit de filtration, le skimmer doit être installé sur la paroi verticale du bassin, au niveau de la ligne d'eau qui doit se trouver au milieu de la meurtrière.
Constitué d'une large ouverture le plus souvent rectangulaire, le skimmer permet d'écumer la surface de l'eau, et de recueillir les impuretés (particules, débris, feuilles, insectes) en suspension.
Celles-ci transitent dans son panier et sont renvoyées vers le filtre dans lequel elles sont retenues. Les impuretés restées dans le panier se vident manuellement.
L'eau ainsi "aspirée" est donc filtrée, puis rejetée dans la piscine par le biais des buses de refoulement.
Un skimmer est généralement équipé d'un clapet anti-retour. Celui-ci empêche le retour des impuretés dans l'eau en raison des vagues.
Le nombre de skimmers à installer dépend de la taille de la piscine. (Généralement, 1 skimmer par 25 m² de surface d'eau)
Le panier filtrant du skimmer peut également accueillir les produits de traitement (galets de chlore, chaussettes, etc), ce qui permet leur diffusion dans l'eau à travers la pompe de filtration. De cette manière, on évite l'introduction de produits dangereux directement dans l'eau de piscine.
Le raccordement dans le cas de plusieurs skimmers se fait idéalement de manière individuelle, ce qui assure une meilleur performance. Cela permet également d'isoler les circuits l'un de l'autre, et facilite grandement les interventions éventuelles.
Caractéristiques :
- Compatible avec les piscines béton ou liner
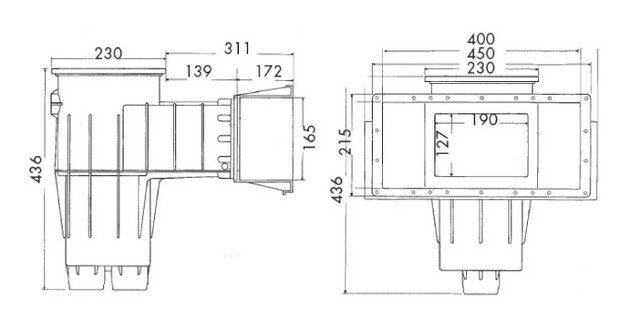
- Meurtrière XL 431 x 215 mm
- Volet silencieux : amortisseur intégré sur le haut de la bouche d'aspiration
- Clapet de fond de cuve : permet de réguler de débit d'aspiration si le nombre de skimmers est supérieur à 2.
- Débit 6 à 10 m³/h
- Connexion d'aspiration : aspiration inférieure 2" mâle à visser
- Connexion trop-plein : supérieure Ø 32 mm femelle à coller
- Connexion à un régulateur de niveau : inférieure 2" femelle à coller (bouchon "2 x 50 mm)
- Corps de skimmer monobloc. Soudure unique entre le skimmer et la meurtrière.
- Composition : ABS haute qualité, traité anti-UV.
- Trop-plein Ø 32
- Clapet de réglage de débit
- Joints autocollants, enjoliveurs cache-vis
Skimmer garanti 3 ans
Avis Skimmer Cofies Hayward pour piscine béton et liner






